12月31日,小米就近日“米家”商标被判决侵权并判赔1200万一事作出了正式回应,公告称小米早已注册了“米家”关联商标,旗下大多数产品与原告杭州联安安防工程有限公司的第9类“MIJIA米家”商标无关,小米也将提起上诉。
OFweek维科网经查发现,杭州联安安防工程有限公司分别于2011年10月12日、2016年6月28日、2019年9月9日申请了“米家 MIKA(有效期至2022年12月06日)”、“MIJIA米家”“米家”3个商标,为第9类国际分类。

图片来源:中国商标网
而小米则申请了:
第九类:米家、米家定制、米家名品、米家充气宝、已接入米家 WORKS WITH MIJIA、米家优选、米家有品、小米米家、小米家,最早申请的“米家”日期为2014年08月15日;
第42类:米家、米家定制、米家名品、小米米家、米家生活、米家优选、米家有品等商标,最早申请的时间为2014年08月15日,对应商标为“米家”。

图片来源:中国商标网
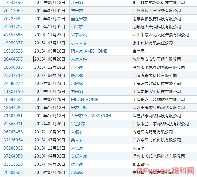
需要注意的是,杭州联安安防工程有限公司同样在第42类中申请了“米家米控”一个商标。

图片来源:中国商标网
由此我们发现,在众多的“米家”关联商标中,双方的交集点只有“米家”最为直接,但两者申请时间上,小米要早于杭州联安安防工程有限公司,且两者均同属第9类,具体如下:
·小米第9类“米家”商标:2014年08月15日;
·杭州联安安防工程有限公司第9类“米家”商标:2019年9月9日。

图片来源:中国商标网
以上是两家公司商标纠缠的地方。
而在产品上,两家公司的关联之处也比较多。
首先是杭州联安安防工程有限公司是一家主打视频监控、防盗报警器材的公司,产品覆盖摄像机、录像机、扬声器音箱、扬声器喇叭、电线、防盗报警器、报警器、电锁、电子防盗装置、视频监控器等安防产品。
而小米作为全球最大的物联网生态平台,小米生态链早已覆盖安防的各类产品,两者存在业务上的冲突,小米在回复中也承认了这一点:本次诉讼中仅仅涉及小米10款产品的商标使用争议。
另外,OFweek维科网在商标查询中还发现,小米的“米家”商标组合使用情况非常多,有些申请为“米家”的商标,在实际使用中,其标识却为“米家MIJIA”,如2016年03月15日申请的“米家”商标,在实际使用中却标识为“米家MIJIA”,与杭州联安安防工程有限公司的“米家MIJIA”存在极大的相似之处,且经营类别也有重叠的地方。

图片来源:中国商标网
以上即为OFweek维科网带来的商标分析。对于1200万的高额索赔,小米在回复中做了明确说明:我们并不认同一审判决中提及的利润计算方法。小米此前已告知法院,2018年报中已披露小米硬件综合税后净利润率低于1%。尽管不同品类净利润有所不同,但一审判决中所言30%显然极大背离事实,对此我们深表遗憾及强烈异议。
物联网产业正在发展之中,安防产业也正在向物联网靠拢,两大产业都存在着众多需要解决的问题。对于两家的争端,只希望双方能尽快和平解决,早日重回正常的发展轨道上来。
标签: 小米被判赔1200万
新闻排行
图文播报
科普信息网 - 科普类网站
联系邮箱:85 572 98@qq.com 备案号: 粤ICP备18023326号-39
版权所有:科普信息网 www.kepu365.cn copyright © 2018 - 2020
科普信息网版权所有 本站点信息未经允许不得复制或镜像,违者将被追究法律责任!